
The Tip2955 je silikonový epitaxiální základnu PNP tranzistor umístěný v balíčku TO-218.Jeho robustní design nabízí všestranné řešení napříč několika vysoce výkonnými aplikacemi, plynule se zapadá do obvodů, regulačních systémů a nastavení zesílení zvuku.V obvodech s přepínáním výkonu vyniká TIP2955 efektivní manipulací s aktuálním zatížením v nastavení s neustále se měnícími požadavky, kde stabilní regulace energie podporuje účinnost systému.Tip2955 slouží důležité funkci v regulačních systémech, adept při zachování stálého výstupu, jak vstupní podmínky kolísají.Jeho síla při odolávání tepelných variací poskytuje spolehlivé kontroly v regulátorech napětí nebo proudu, což přispívá k systémům, které snášejí zkoušku času a operačních tlaků.Kapacita TIP2955 vylepšit obvody zesílení zvuku je zobrazena při dodávání zvuku s vysokou věrností a obratně minimalizující zkreslení signálu.

|
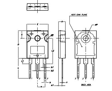
Číslo kolíku |
Typ kolíku |
Popis |
| 3 |
Emitor |
Emitor je pro vnější tok proudu. |
| 1 |
Báze |
Základna spravuje zkreslení tranzistoru a
Řídí stav tranzistoru. |
| 2 |
Kolektor |
Sběratel umožňuje vnitřní pohyb proudu
a je připojen k zátěži. |



Tip2955 je charakterizován jeho výrazně nízkým napětím nasycení emituru.Tato vlastnost zvyšuje všestrannost zařízení a otevírá dveře účinným návrhům obvodů.
Jeho schopnost plynule spárovat s tranzistory NPN je vrcholem a vydláždí cestu pro integraci do obvodů s dvojitým transstorem.
Díky těmto aspektům je Tip2955 vhodnou volbou pro zvukové zesilovače a napájecí obvody.V takových aplikacích se dosažení přesného řízení proudu stává pronásledováním.
Použitím doplňkových tranzistorů ve vysoce výkonných prostředích lze dosáhnout pocitu harmonie ve výkonu, čímž se snižuje problémy, které vznikají u neshodných párů.
Jeho adaptace ve složitých obvodech zdůrazňuje podstatu porozumění rozmanitým tranzistorovým charakteristikám a jejich souhry.Tato znalost může být klíčem k odemknutí plného potenciálu ve složitých návrzích systému.
Tip2955, multifunkční tranzistor, pracuje s výjimečným odborností napříč spektrem obecných elektronických obvodů.Jeho trvalá povaha je výhodná v náročném prostředí, kde je upřednostňován konzistentní výkon v průběhu času.V praktických situacích činí její schopnost spravovat zatížení s vysokým proudem Tip2955 aktivum při podpoře stability a účinnosti obvodu.
Zvukové zvukové systémy s vysokou věrností často využívají TIP2955 k dosažení amplifikace signálu s přesností a jemným zkreslením.Dovednost tranzistoru při správě podstatné úrovně energie při zachování čistoty signálu přitahuje audiofily.Během návrhu reproduktorových systémů může optimalizace využití TIP2955 zvýšit kvalitu zvuku, což má za následek bezproblémové poslechové setkání.
Kromě její amplifikační role přispívá TIP2955 ke zvýšení spolehlivosti systému.Jeho tepelná odolnost a ochrana přehřátí prodlužují životnost zařízení, čímž se snižuje potřeba časté údržby.V rozsáhlých aplikacích jsou tyto vlastnosti obzvláště ceněny v systémech, které čelí kolísajícím podmínkám výkonu, kde spolehlivost během stresu je standardním očekáváním.
Aby bylo možné plně těžit ze schopností TIP2955, vyžadují návrhové úvahy značnou pozornost.Tyto přístupy se řídí iteračními vylepšeními z předchozích projektů, kde navigace elektrických limitů a řízení tepla vedlo k optimalizaci vynikajícího obvodu.
• • Tip100
• • Tip101
• • Tip102
• • Tip105
• • Tip106
• • Tip107
• • TIP110
• • Tip3055

Využití tří paralelních tranzistorů TIP2955 zvyšuje výstupní proud.Tato úmyslná konfigurace zlepšuje jak distribuci proudu, tak distribuce tepelného zatížení, prodlouží účinnost a trvanlivost systému.Ti, kteří jsou v této doméně dobře obeznámeni, často zdůrazňují důležitost správného potopení tepla a přiměřeného rozestupu mezi tranzistory, aby se snížilo tepelné rušení a zvýšilo celkový výkon.Dosažení stabilního výstupu napětí zahrnuje spárování TIP2955 s regulátorem 7812 napětí.7812 vyniká při udržování konzistentního napětí uprostřed různých vstupních scénářů, což snižuje rizika z hrotů napětí.Taková spolehlivost se používá při řízení energie v kolísajících prostředích.Kondenzátory přispívají k výstupu hladkého obvodu minimalizací zvlnění napětí a přechodných reakcí a udržováním stabilního napájení zařízení.Pojistky zavádějí důležitou vrstvu ochrany před nadměrným proudem, který by mohl ohrozit komponenty obvodu.Výběr správného hodnocení pojistky vyžaduje promyšlenou analýzu, což zajišťuje, že překonává maximální proud zátěže dostatečně jen k zajištění, aniž by způsoboval nepřiměřené narušení.
|
Typ |
Parametr |
|
Stav životního cyklu |
Aktivní (poslední aktualizace: před 7 měsíci) |
|
Mount |
Skrz díru |
|
Balíček / pouzdro |
To-247-3 |
|
Hmotnost |
9.071847G |
|
Napětí rozkladu sběratele-emiter |
60V |
|
HFE Min |
20 |
|
Obal |
Trubice |
|
Stav dílu |
Aktivní |
|
Počet zakončení |
3 |
|
Terminál povrch |
Cín (SN) |
|
Maximální rozptyl energie |
90W |
|
Frekvence |
3MHz |
|
Počet špendlíků |
3 |
|
Rozptyl energie |
90W |
|
Časová doba z továrny |
8 týdnů |
|
Typ montáže |
Skrz díru |
|
Počet kolíků |
3 |
|
Materiál tranzistorového prvku |
KŘEMÍK |
|
Počet prvků |
1 |
|
Provozní teplota |
150 ° C TJ |
|
JESD-609 kód |
E3 |
|
Úroveň citlivosti na vlhkost (MSL) |
1 (neomezený) |
|
ECCN kód |
Ear99 |
|
Napětí - jmenovité DC |
-100V |
|
Aktuální hodnocení |
-15a |
|
Číslo základní dílu |
Tip2955 |
|
Konfigurace prvku |
Singl |
|
Transistorová aplikace |
Přepínání |
|
Získejte produkt šířky pásma |
3MHz |
|
Typ tranzistoru |
PNP |
|
MAX Collector Current |
15a |
|
Aktuální - sběratelský metroff (max) |
700 μA |
|
Vce saturace (max) @ ib, IC |
3V @ 3.3a, 10a |
|
Sběratelské základní napětí (VCBO) |
100v |
|
VCESAT-MAX |
3 v |
|
Délka |
15,75 mm |
|
Dosáhnout SVHC |
Ne SVHC |
|
Stav ROHS |
Rohs3 vyhovující |
|
Typ polarity/kanálu |
PNP |
|
Napětí emitoru kolektoru (VCEO) |
60V |
|
DC aktuální zisk (HFE) (min) @ ic, vce |
20 @ 4a 4V |
|
Kód JEDEC-95 |
TO-247AD |
|
Frekvence přechodu |
3MHz |
|
Napětí základního základu (VEBO) |
7v |
|
Výška |
20,15 mm |
|
Šířka |
5,15 mm |
|
Kalení záření |
Žádný |
|
Olovo zdarma |
Olovo zdarma |

Stmicroelectronics, vlivná entita polovodičových řešení, přebírá produkci TIP2955.S velkým množstvím odborných znalostí v oblasti mikroelektroniky společnost řídí pokrok vpřed, který podporuje technologický vývoj.Společnost se zaměřuje na důslednou rafinování a aktualizaci svých postupů tak, aby se v souladu s průmyslovými normami a nadcházejícími trendy.Vyvážení složité dynamiky mezi inovacími a praktičností vyžaduje očekávání sklonů trhu, strategie, která odlišuje přední společnosti.Ve vývoji TIP2955 se Stmicroelectronics spojuje se strategickým předvídáním a vytváří produkt, který splňuje současné požadavky a zároveň naladí budoucí možnosti.
Oznámení materiálu Adv Mult Dev Adv 8/APR/2019.PDF
Zašlete prosím dotaz, budeme odpovědět okamžitě.
Tranzistory TIP2955 a TIP3055 jsou v elektronické doméně vysoce hodnoceny.Známé pro svůj harmonický design a nízké nasycení napětí se běžně používají v doménách zvuku a napájení.Tyto aplikace prospívají technologii TO-247, která vyniká díky svým pozoruhodným tepelným vlastnostem a mechanické odolnosti.Tyto tranzistory často slouží jako skvělá volba v projektech, kde se hledá energetická účinnost a trvanlivost.Robustnost tranzistorů špiček často poskytuje pevný základ pro dosažení vynikajících tepelných charakteristik v elektronických konfiguracích.
Transistor, navržený jako doplněk PNP v konfiguraci SOT-93, se může pochlubit podstatnou energetickou kapacitou hodnocenou na 90 wattů při typické teplotě 25 ° C.Toto hodnocení zdůrazňuje jeho odbornost při udržování stabilních sběratelských proudů až do 15 ampér, a proto je oceňována ve scénářích, které vyžadují robustnost i přizpůsobivost.S TIP2955 mohou návrhy dosáhnout rovnováhy mezi kapacitou výkonu a tepelným řízením, na které se charakteristiky často spoléhají odborníky, kteří se souhlasí s složitostmi tepelné kontroly v omezených prostorech.Vylepšená integrace a ladění výkonu těchto komponent může podpořit pozoruhodný pokrok v inovacích správy síly.
na 2024/11/10
na 2024/11/8
na 8000/04/18 147758
na 2000/04/18 111943
na 1600/04/18 111349
na 0400/04/18 83721
na 1970/01/1 79508
na 1970/01/1 66916
na 1970/01/1 63071
na 1970/01/1 63012
na 1970/01/1 54081
na 1970/01/1 52140