




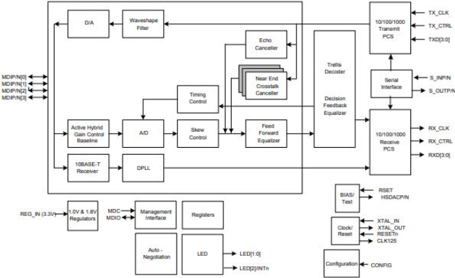
The 88e1512 je vysoce adaptabilní gigabit ethernetový transceiver.Podporuje široce využívané standardy 1000Base-T, 100Base-TX a 10Base-T, což zajišťuje efektivní přenos dat.Tato rozmanitost standardů jí umožňuje splnit požadavky moderních síťových systémů a nabízet spolehlivost na různých rozhraních.
S připojením dostupnými prostřednictvím rozhraní GMII a RGMII transceiver usnadňuje hladkou integraci do různých síťových infrastruktur.Tato dvojí kompatibilita zajišťuje rozmanité síťové architektury a poskytuje vám flexibilitu potřebnou k bezproblémovému zvýšení výkonu systému.Snadnost začlenění do stávajících systémů je často oceňována a zvyšuje škálovatelnost i účinnost.88E1512 je připravena přizpůsobit se řadě síťových scénářů.V prostředích, kde síť vyžaduje kolísání, může být tato schopnost většinou výhodná.Automatická detekce typu média transceiveru snižuje složitost nastavení a zefektivňuje správu sítě.
Integrované rezistory zakončení MDI jsou součástí efektivního designu 88E1512, zjednodušují rozložení obvodů a snižování nákladů souvisejících s materiály a výrobou.Tento promyšlený design je v souladu s standardy IEEE a zajišťuje konzistentní výkon.Taková účinnost pomáhá při poskytování systémů, které jsou spolehlivé, ale jednoduché nasazení.Rovnováha přesnosti a správy nákladů nabízených 88E1512 je často hledána.Poskytováním kvalitních řešení, která respektují omezení rozpočtu, mohou projekty dosáhnout udržitelnosti i škálovatelnosti.Tato rovnováha je běžně pozorována při úspěšných implementacích, která vede dlouhodobý síťový pokrok.
|
Funkce |
Popis |
|
IEEE soulad |
10/100/1000BASE-T IEEE 802.3 |
|
Více provozních režimů |
- rgmii na měď |
|
- SGMII na měď (88E1512/88E1514) |
|
|
- RGMII na Fiber/SGMII (pouze 88E1512) |
|
|
- RGMII na měď/vlákno/SGMII s detekcí automatického média
(Pouze 88e1512) |
|
|
- Měď na vlákno (1000BASE-X) (88E1512/88E1514) |
|
|
Režimy časování RGMII |
Čtyři režimy časování RGMII s integrovaným zpožděním,
eliminovat potřebu zpoždění stopování PCB |
|
Podpora rozhraní vlákna |
Podporuje 1000BASE-X a 100BASE-FX s SGMII (88E1512
pouze) |
|
Standardy RGMII LVCMOS |
Podporuje LVCMOS/0 na RGMII |
|
Energeticky účinný ethernet (EEE) |
IEEE 802.3az-2010 kompatibilní, s eee vyrovnáváním pro
Legacy Macs |
|
Účinnost energie |
Ultra nízký výkon s integrovaným ukončením MDI
odpory |
|
Regulátory napětí |
Integrované regulátory přepínání napětí |
|
Green Ethernet podpora |
- Režim aktivního uložení energie |
|
- Detekujte energii a detekujte energii+ režimy nízkého výkonu |
|
|
IEEE1588 v2 |
Podpora časového razítka |
|
Synchronní Ethernet (Synce) |
Obnovení hodin |
|
Režimy smyčky |
Tři režimy diagnostické smyčky |
|
Režim posuvu dolů |
Podpora instalací dvou párů kabelů
|
|
Adaptivní ekvalizéry |
Plně integrované digitální adaptivní ekvalizéry, Echo
Cancellers a Crosstalk Cancellers |
|
Základní korekce putování |
Pokročilá digitální korekce blouže |
|
MDI/MDIX |
Automatický přechod MDI/MDIX při všech rychlostech |
|
Korekce polarity |
Automatická korekce polarity |
|
Automatické vyjednávání |
Komf |
|
LED režimy |
Softwarové programovatelné režimy LED, včetně testování LED |
|
Rozhraní správy |
Rozhraní MDC/XMDIO Management |
|
Diagnostické nástroje |
Checker CRC, počítadlo paketů, generování paketů |
|
Wake on LAN (WOL) |
Schopnost detekce událostí |
|
Virtuální kabelový tester (VCT) |
Pokročilý virtuální tester kabelů pro diagnostiku |
|
Auto-kalibrace |
Pro výstupy rozhraní Mac |
|
Teplotní senzor |
Integrovaný |
|
Přívod napětí |
Jediný napájení 3,3V s interním regulátorem přepínání
podpora |
|
Možnosti napětí I/O. |
1,8 V, 2,5 V nebo 3,3 V pro I/O podložky |
|
Možnosti třídy |
Komerční a průmyslové známky (88E1510 a 88E1512
pouze) |
|
Balík |
- 48-pin qfn 7mm x 7mm zelená s EPAD (88E1510 a
88E1518) |
|
- 56-pin qfn 8mm x 8mm zelená s EPAD (88E1512/88E1514) |
Ethernet Phy 88E1512 nabízí flexibilní základ pro rychlý pokrok v digitální krajině.Tato komponenta poháněla systémy gigabitu v různých odvětvích, jako jsou podnikové, vložené řešení, spotřební elektronika a metro/servisní sítě.
• Posílení síťové infrastruktury: V Enterprise Networks zesiluje 88E1512 připojení a zvyšuje rychlosti přenosu dat.Užívá se v prostředích vyžadujících rychlou a bezproblémovou výměnu dat, jako jsou datová centra a podnikové sítě.
• Integrace datového centra: Datová centra těží ze stabilního výkonu a vysokorychlostních schopností 88E1512 a zajišťuje hladký tok dat nezbytný pro skladování a zpracování.Zasáhne harmonickou rovnováhu mezi rychlostí a spolehlivostí a stává se klíčovým prvkem v konstrukcích současných datových center.
V vestavěných systémech umožňuje komponenta kompaktní a efektivní rozvržení pro IoT a automatizaci.Tato integrace podporuje chytřejší a citlivější aplikace, řídí inovace v oblasti inteligentních domácích technologií a průmyslovou automatizaci.
88E1512 splňuje rostoucí poptávku po vysokorychlostním internetu ve spotřebitelských zařízeních.Inteligentní televizory a herní konzole například využívají svou kapacitu pro vynikající streamování a herní zážitky a zvyšují vaši spokojenost a konkurenční výhodu.
• Udržování připojení: V metroch a mezi poskytovateli služeb zajišťuje 88E1512 stabilní a konzistentní připojení.Jeho nasazení umožňuje poskytovatelům služeb poskytovat kvalitní přístup k internetu s minimálním přerušením a prospívat podnikům i domům.
• Posílení páteře sítě: Jeho role v metroch sítí podporuje spolehlivou infrastrukturu, usnadňuje efektivní komunikační kanály a přizpůsobuje vysoké zatížení dat.Je hlavní při udržování městských komunikačních sítí a zajišťuje jejich efektivitu a odolnost.
• 88E1512-A0-NNP2I000
• 88E1512-A0-NNP-2i000
• 88E1512-A0NNP2I000
• 88e1512a0nnp2i000


Marvell, známý pro tlačení obálky v digitálním úložišti, neustále prolomí novou půdu napříč různými sektory.Jejich pokročilá polovodičová řešení hrají hlavní roli při definování budoucnosti ukládání dat a mají dalekosáhlé účinky na podnikové, cloudové, automobilové, průmyslové a spotřebitelské trhy.Tato holistická strategie odhaluje jejich odhodlání zvyšovat efektivitu a škálovatelnost správy dat.
V nastavení podniku i cloudu Marvell zvyšuje tok dat a účinnost úložiště.Rostoucí důraz na cloud computing vyžaduje robustní a škálovatelné inovace.Díky využití pokročilých algoritmů spolu s energetickými návrhy Marvell řeší výzvy latence a poskytuje bezproblémový přístup k datům k splnění požadavků na rychlost potřebné pro moderní podniky.Pro automobilové a průmyslové využití poskytuje Marvell odolná řešení navržená tak, aby vydržela těžké podmínky.Jejich polovodiče nabízejí spolehlivé, zpracování dat - aktivní pro vývoj inteligentních vozidel a automatizaci výroby.Začlenění schopností AI podporuje inteligentní rozhodování a prediktivní údržbu, oba se používají pro transformace těchto sektorů.
Zde je stůl pro Marvell Semiconductor, Inc. 88E1512-A0-NNP2I000 Technické specifikace a atributy.
|
Typ |
Parametr |
|
Časová doba z továrny |
16 týdnů |
|
Mount |
Povrchová držák |
|
Typ montáže |
Povrchová držák |
|
Balíček / pouzdro |
56-VFQFN exponovaná podložka |
|
Úroveň použití |
Průmyslová třída |
|
Provozní teplota |
-40 ° C ~ 85 ° C (TA) |
|
Série |
ALASKA® |
|
Publikováno |
2011 |
|
Stav dílu |
Aktivní |
|
Úroveň citlivosti na vlhkost (MSL) |
3 (168 hodin) |
|
Počet zakončení |
56 |
|
Typ |
Vysílač |
|
Napětí - napájení |
1,71V ~ 1,89 V, 2,38 V ~ 2,62 V, 3,14 V ~ 3,46 V |
|
Poloha terminálu |
Quad |
|
Terminální forma |
Žádný náskok |
|
Počet funkcí |
1 |
|
Napětí |
3,3V |
|
Kód JESD-30 |
S-XQCC-N56 |
|
Počet kanálů |
4 |
|
Rozhraní |
Ethernet |
|
Rychlost dat |
10 Mbps, 100 Mbps, 1 Gbps |
|
Protokol |
IEEE 802.3, IEEE 1588 |
|
Počet ovladačů/přijímačů |
4-dub |
|
Duplex |
Plná, polovina |
|
Počet transceiverů |
1 |
|
Simplex/duplex |
Duplex |
|
Maximální teplota křižovatky (TJ) |
125 ° C. |
|
Okolní teplotní rozsah vysoký |
85 ° C. |
|
Výška |
1 mm |
|
Stav ROHS |
Rohs vyhovuje |
Transceiver 88e1512 je Navrženo pro všestranná nastavení sítě, podpora pěti režimů provozu, které mají vyhovovat specifické potřeby.RGMII, která zvyšuje digitální komunikaci mezi Mac a Phy, zefektivňování přenosu dat a snížení designu Složitost, je ideální pro mědi v různých instalacích.Sgmii je kompaktní protokol s diferenciálními páry pro vysokou integritu signálu a nízký počet špendlíků, podpůrné připojení mědi a vlákna, široce používané pro své nízká síla a přizpůsobivost.RGMII na SGMII Transition nabízí Flexibilní připojení povolením přechodů RGMII-SGMII s konfigurací Možnosti zajištění kompatibility v různých nastaveních.Měď a vlákno Podpora SGMII podporuje obě měď (odolné, nákladově efektivní) a vláknitá (vysokorychlostní, dlouhá vzdálenost) spojení s Automatická detekce pro zjednodušené nastavení.Usnadňuje přechod vlákna (1000BASE-X) bezproblémové přechody mezi režimy mědi a vlákna, přizpůsobitelné obytnému a komerční prostředí založená na požadavcích na latenci a signál.
Transceiver je vybaven integrovaným regulátorem napětí, který hladce pracuje na napájení 3,3 V a zároveň podporuje více napětí LVCMOS: 1,8 V, 2,5 V a 3,3 V.Tato adaptabilita umožňuje bezproblémovou integraci do systémů s různými energetickými rámcemi.Záměrná volba standardů napětí přímo ovlivňuje tepelnou správu a energetickou účinnost a hraje pozoruhodnou roli v inženýrských výzvách.Účastí na těchto aspektech můžete posílit dlouhověkost výkonu a udržitelný provoz zařízení.
Rozměry transceiveru jsou uzavřeny v kompaktním balíčku 56-pinové QFN, jsou 8 mm x 8 mm.Tento design se používá pro maximalizaci prostoru na hustých deskách obvodů, takže je vhodný pro aplikace s vysokou hustotou.Vzhledem k tomu, že elektronika pokračuje v trendy směrem k menším velikostem, je výběr kompaktních komponent bez ztráty funkčnosti stále důležitější.Balíček QFN nejen zlepšuje tepelný výkon, ale také snižuje stopu a přímo ovlivňuje všestrannost produktu a reakci na trh.
Zašlete prosím dotaz, budeme odpovědět okamžitě.
na 2024/10/29
na 2024/10/29
na 8000/04/17 147713
na 2000/04/17 111738
na 1600/04/17 111322
na 0400/04/17 83624
na 1970/01/1 79280
na 1970/01/1 66784
na 1970/01/1 62949
na 1970/01/1 62836
na 1970/01/1 54034
na 1970/01/1 52003