

|
Kolík |
Jméno |
Funkce |
|
1 |
AVDD |
3,3V vstup analogového výkonu pro analogové obvody |
|
2 |
DM2 |
Data portu downstream 2 - |
|
3 |
DP2 |
DATA DOWNSTRAMU 2 Port + |
|
4 |
Rref |
Připojte rezistor 680ohms mezi RREF a AGND |
|
5 |
AVDD |
3,3V vstup analogového výkonu pro analogové obvody |
|
6 |
X1 |
Vstup oscilátoru 12MHz |
|
7 |
X2 |
Vstup oscilátoru 12MHz |
|
8 |
DM3 |
Data portů po proudu 3 - |
|
9 |
DP3 |
DATA DOWNSTRAMU 3 Port + |
|
10 |
AVDD |
3,3V vstup analogového výkonu pro analogové obvody |
|
11 |
DM4 |
Data portu downstream 4 - |
|
12 |
DP4 |
Data portu downstream 4 + |
|
13 |
Resetovat |
Aktivní nízký externí resetování |
|
14 |
Test/SCL |
Chip bude v testovacím režimu, pokud je tažen vysoké / i2c hodiny
výstup |
|
15 |
GND |
Země |
|
16 |
DVDD |
3,3V vstup digitálního napájení pro digitální obvody, logika
Úroveň |
|
17 |
Penf |
0: GL850G je poháněno autobusem, 1: GL850G je samoobsluhy |
|
18 |
Pgang |
Jednotlivý / gang režim Vyberte |
|
19 |
OVCUR2 |
Aktivní nízký přesahující aktuální indikátor |
|
20 |
Pwren2 |
Aktivní výstup s nízkým výkonem povolení |
|
21 |
OVCUR1 |
Aktivní nízký přesahující aktuální indikátor |
|
22 |
Pwren1 |
Aktivní výstup s nízkým výkonem povolení |
|
23 |
V5 |
Vstup regulátoru 5V až 3,3 V |
|
24 |
V33 |
Výstup regulátoru 3.3V |
|
25 |
DM0 |
Data portů proti proudu - |
|
26 |
DP0 |
Data portů proti proudu + |
|
27 |
DM1 |
Data portu downstream 1 - |
|
28 |
DP1 |
DATA DOSTUPNÝCH 1 Port + |
|
Funkce |
Popis |
|
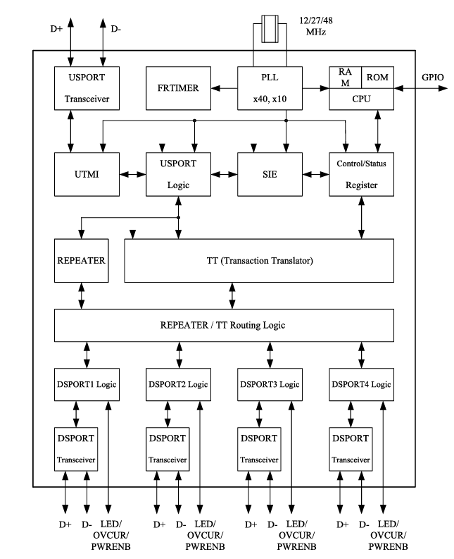
Specifikace USB |
Komf.zaostalý
Kompatibilní pro specifikace USB 1.1. |
|
Port proti proudu |
Podporuje jak vysokorychlostní (HS), tak plnou rychlost (FS)
provoz. |
|
Po proudové porty |
Podporuje provoz HS, FS a nízkou rychlost (LS). |
|
Potrubí |
1 ovládací trubka (koncový bod 0, 64-bajte datová užitečná zatížení);1
Přerušení potrubí (koncový bod 1, 1-bajtové užitečné zatížení). |
|
Mikroprocesor |
8bitový mikroprocesor na čipu s architekturou podobnou RISC
a sada instrukcí optimalizovaná USB. |
|
Výkon |
6 MIPS @ 12 MHz. |
|
Paměť |
64-BYTE RAM a 4K MASK ROM. |
|
Přizpůsobené PID/vid |
Podporováno prostřednictvím externího EEPROM/SMBUS. |
|
Konfigurace portů po proudu |
Podporováno prostřednictvím externího EEPROM/SMBUS. |
|
Překladatel jednorázového transakce (STT) |
Sdílí stejnou logiku kontroly TT pro všechny port po proudu
zařízení (nákladově efektivní řešení). |
|
Integrace transceiveru |
Integruje transceiver USB 2.0. |
|
Výstupní ovladače |
Zlepšeno kontrolou rychlosti pro snížení EMI. |
|
Správa energie |
Vestavěný regulátor 5V až 3,3 V. |
|
Detekce napájení |
Interní detekce napájení pro obnovení ESD. |
|
Pull-up/pull-down rezistory |
Vestavěný proti proudu 1,5 kΩ;po proudu 15KΩ
roztažení. |
|
Pll |
Vestavěná PLL podporuje externí krystalickou/oscilátor 12 MHz
vstup hodin. |
|
Sériový odpor |
Vložený sériový rezistor pro signály USB. |
|
Nízká podpora energie |
Podporuje selektivní suspendy, LPM L1 (přes EEPROM). |
|
Inteligentní režim napájení |
Podporuje individuální a gangové způsoby řízení energie
a detekce nadměrného proudu. |
|
Síla autobusu |
Odpovídá požadavkům na energii autobusu;automatické přepínání
Mezi režimy s vlastním poháněným a autobusem. |
|
Flexibilita konfigurace portů po proudu |
Nakonfigurováno prostřednictvím SMBUS/EEPROM. |
|
Podpora složeného zařízení |
Konfigurovatelné pomocí I/O SPAPPACE, SMBUS nebo EEPROM. |
|
Dostupné balíčky |
- 28-pin qfn (5x5 mm) |
|
- 28-pin SSOP (209 mil) |
|
|
- 24-pinové qfn (4x4 mm). |
• • GL852G
• • Fe1.1S
• PL2586


Kromě krystalových oscilátorů a USB portů GL850G Řadič rozbočovačů USB vyžaduje výstupní kondenzátor, aby zajistil správné filtrování a stabilitu jeho napájení.Kromě toho jsou pro konfigurační kolíky užitečné pro udržení vhodných úrovní napětí a umožnění spolehlivého provozu.
GL850G prokazuje přizpůsobivost v širokém rozsahu elektronických zařízení, včetně samostatných rozbočovačů USB, počítačů, tablet, základních desek, dokovacích stanic, herních konzolí a LCD monitorů.Jeho výjimečná podpora sofistikovaných funkcí USB obohacuje vaše zkušenosti napříč různými aspekty.
Začlenění GL850G do rozbočovačů USB vám nabízí rozšířené připojení, zajištění hladkého přenosu dat a dodávky energie a zajištění touhy po sníženém nepořádku kabelu a zvýšenou účinnost pracovního prostoru.Integrace takové technologie do denních prostředí znamená přesun směrem k ergonomičtějším a efektivním nastavením.
U počítačů a tabletů optimalizuje čip GL850G rychlosti přenosu dat, zvyšuje výkon zařízení v náročných aplikacích a úkolech těžkých dat.Taková integrace podporuje potenciál pro lepší multitasking a operační účinnost.Často můžete zjistit, že mírná zlepšení přenosu dat může výrazně ovlivnit jejich zkušenosti a spokojenost.
Při aplikaci na základní desky, komunikace jemných dolarů čipové sady GL850G mezi komponenty, zvyšováním reakce a účinnosti systému.Tato optimalizace vás podporuje při udržování vysoce výkonných operací a prospívá osobnímu využití i profesionálním prostředí, kde je spolehlivý výkon vysoce oceněn.
V dokovacích stanicích hraje GL850G aktivní roli při rozšiřování konektivity a umožňování současných periferních připojení.Tato inovace se zabývá potřebou flexibilních pracovních prostorů efektivním propojením přenosných zařízení s komplexními konfiguracemi stolních počítačů.
Využití čipové sady v herních konzolách zajišťuje výměnu dat tekutin a periferní podporu a obohacuje vaše zapojení.Toto zaměření na výkon je v souladu s očekáváním spotřebitelů pro bezproblémové herní dobrodružství, kde i malá vylepšení mohou mít pozoruhodný dopad.
Integrace GL850G do LCD monitorů usnadňuje efektivní provoz portů USB, podporuje nastavení čističe a odstraňuje nutnost dalších adaptérů.Tato pokrok jsou v souladu s hlubším vědomím toho, jak vizuální jasnost a konektivita zvyšuje produktivitu a spokojenost.

Zašlete prosím dotaz, budeme odpovědět okamžitě.
na 2024/12/17
na 2024/12/17
na 8000/04/18 147757
na 2000/04/18 111934
na 1600/04/18 111349
na 0400/04/18 83719
na 1970/01/1 79508
na 1970/01/1 66895
na 1970/01/1 63010
na 1970/01/1 62998
na 1970/01/1 54081
na 1970/01/1 52115